Так что ж там с памятью воды-то, а?
Темно иль ничтожно,
Но им без волненья
Внимать невозможно.
Сейчас модно рассуждать про «память воды». Трепетная Аш-два-О, оказывается, многое помнит. Жаль, что вода не пишет мемуаров — интересно было бы почитать: «Дело было в мезозое. Помню, как я была каплей росы в прекрасном лесу, потом стекла в журчащий неподалеку ручеек, а потом меня выпил ужасный протоцератопс и… » дальнейшее уже не так поэтично. Но вода писать пока не умеет, хотя читать уже может (см. далее).
У гомеопатов она помнит, что когда-то была смешана с лекарством, причем в разведении «один к миллионам» в небольшом объеме воды уже просто НЕТ тех молекул, которые встречались с самим препаратом. Ну или одна-две штуки. Чтобы обеспечить сведениями о лекарстве все остальные молекулы, счастливицы, которым повезло, вероятно, устраивают семинары и тренинги, где передают опыт и делятся воспоминаниями «как я видела Молекулу Препарата». Остальные вздыхают и конспектируют.
У Чумака — вода помнит вдохновенное седовласое лицо маэстро, у святых отцов — прочитанные над ней молитвы. У неких экспериментаторов вода запоминает даже отдельные слова, произносимые над колбой в порядке эксперимента. Если слова нехорошие — вода портится, если добрые — наоборот, замечательно очищается. Особенно тут преуспел японец Масару Эмото: он нашептывал воде разные слова, потом морозил воду и смотрел, какие получаются снежинки. От слов типа «любовь, благо, добро, цветочки, овечки, бисер» — снежинки получались красивые, а от слов «дурак, убью, шарлатан, лженаука, свинья и жаба»
С докладами об этом феномене Масару Эмото объездил весь мир, а фотографиями этих снежинок (всюду одними и теми же, кстати) забито пол-интернета. Правда, когда его спросили, на каком языке он разговаривал с водой, многие в зале смеялись, но настоящего энтузиаста этим не проймешь. Хотя вопрос, конечно, интересный — например, по-турецки «дурак» означает просто остановку, а на китайском есть вполне хорошее имя — слово из трех букв, которое у нас почему-то пишут на заборах. Разберется ли вода, что имелось в виду?
Этот же неутомимый Масару Эмото устраивал над водой многотысячные флешмобы по произнесению воде хороших слов типа «Добро и благодарность» — были даже назначены даты в 2003, 2004
Вода, Мы Любим Вас.
Вода, Спасибо.
Вода, Мы Уважаем Вас,
отчего положение в мире должно было сильно улучшиться. Последняя такая веселуха состоялась 17 июля 2007 г., но улучшения мировой гармонии как не было, так и нет. Честный потомок самураев признался: «боюсь, что никакие положительные явления пока не появились»… но харакири пока отложил.
Люди даже пишут диссертации по вопросу — что же именно является носителем информации в воде. В ней, видите ли, молекулы имеют форму диполя, один конец с минусом, другой с плюсом, и могут путем притягивания образовывать некие цепочки, взявшись за руки… то есть минусы за плюсы. Правда, время существования таких цепочек измеряется секундой, умноженной на 10 в -14 (не то -16) степени, но кого это смущает? Ведь цепочка может уже хранить информацию на манер ДНК!
И вот сторонники феномена демонстрируют малосимпатичные кристаллы замороженной воды, оглушенной хард-роком, и очень красивые, побывавшие в церкви, или которым говорили спасибо… И не только говорили — были эксперименты, когда слова писали, а в бумажку обертывали пробирки. Потом воду опять же морозили — и кристаллы соответствовали написанному! Не обошлось и без музыки: как легко догадаться, от Баха и Бетховена снежинки были невероятно прекрасны, от рок-музыки — ужасны и кривобоки, а от песен типа «васимнацать мне уже пацылуй миня визде» снежинок вообще не образовывалось, все разгладилось напрочь.
У гомеопатов вода не такая обидчивая: она помнит лечебные свойства при многомиллионном разведении, но не обязана помнить, в каком настроении был лаборант и что он говорил, разбавляя пробирки водой из крана. А то бы мы налечились! Тут вопрос другой: как они объясняют воде, что она должна помнить свойства медикамента, а вот свойства ржавых труб, в которых перед этим находилась — начисто забыть? Или все же мы литрами поглощаем эти воспоминания о том, как вода текла в трубах, стояла в отстойниках, подвергалась хлорированию, а перед этим была дождем, а перед дождем она испарилась, а перед испарением, может быть, была лужей слоновьей мочи? Оно нам надо, такое запоминание?
Ну, а что, подумала скептическая я. Ведь существует же эффект памяти формы — сплав после деформации при низкой температуре возвращает свою исходную (до деформации) форму при нагревании. Существует сплав неких металлов (науке достоверно известно, каких — сплав сложного состава, нам же совсем неважно, что это никель, титан, латунь и бронза), изделия из которого реально помнят, какая форма у них была до деформации. У этих сплавов может наблюдаться полная или частичная обратимость неупругой деформации, называемая эффектом памяти формы. То есть была деталь одной формы, ее деформировали, потом нагрели — и она вернула себе первоначальную форму. О как — деталька помнит, какая форма у нее была раньше!
Существует вполне научное, беспристрастное обоснование этого явления (что-то с кристаллической решеткой и сдвигом), эффект повторяем, воспроизводим как в лаборатории, так и в условиях производства. Используются материалы с эффектом памяти формы в качестве элементов тепловых двигателей, широко применяются в медицине для вытяжения костей и лечения переломов, соединения костных фрагментов, при лечении сколиоза и кровеносных сосудов
В чем же отличие металла от воды? Почему такая несправедливость, и, я бы даже сказала, неполиткорректность по отношению к воде? Почему сплавы с ЭПФ нас не удивляют, а насчет воды каждый скептик норовит проехаться на тему «Есть вещи, о которых в научном сообществе говорить неприлично. Одна из них — память воды»?
На примере сплавов с ЭПФ это как раз очень хорошо видно. Вот когда явление есть — оно есть. Спокойные и деловитые ученые его изучают, объясняют, описывают и передают в народное хозяйство. И оно работает. И ведь что самое замечательное — элементам двигателей, протезам суставов и сосудов
Почему сторонники рассматривания красивых снежинок, полученных из воды обласканной, и некрасивых снежинок из воды обруганной, — позаботившись о дипольных цепочках, никак не обсновали тот факт, что для такой реакции на Добро и Зло у воды должно бы быть еще и сознание? Вода мало что должна хранить информацию, она должна ЧЕМ-ТО на нее эмоционально реагировать? У воды, стало быть, есть не только ПАМЯТЬ, но и ПОНЯТИЯ, что «дурак» это плохо, а …, … и … — и совсем нехорошо? И так хорошо понимать, что она даже снежинки от горя нормально образовать не может? Такая вот водичка, стеснительная, как тетушка Полли, которая роняла вязание при слове «штаны», а слово «мужчина» выговаривала шепотом и оглядываясь?
Ну не бессмыслица ли?





Все здорово, но вот гомеопатию зря пнули.
В том-то и дело, что ток всегда действует одинаково, если воспроизвести одинаковые условия...
То есть никакого универсального алгоритма, никакой закономерности, сплошной индивидуальный подход
Гомеопатия подействует точно также предсказуемо на идентичных людей с идентичными болезнями. Для того есть книги и справочники. Или гомеопаты все лечение из пальца высасывают? Хотя, наверное, и такие есть.
В том-то и пакость всех этих шарлатанских метод, что они обещают излечение всем "не глядя"
Скажите уж прямо: гомеопатия - шарлатанство?
0 Ответить
C гомеопатией ясно одно: объяснение механизма ее работы - никуда не годится.
В качестве доводов против - то, что обещанный за ТОЛКОВОЕ (т.е. научное и доказательное) объяснение действия миллион долларов так никто и не попытался получить. То есть лечить - лечат, а как лечат - сами не понимают. И на предложения ученых - провести эксперименты как положено - отвечают бранью. Это настораживает. Если все действует - почему отказываются?
Но есть у гомеопатии некоторое достоинство: там хотя бы смешивают эти супер-разведенные препараты, но хотя бы не утверждают, что "раствор аспирина умеет отличать Добро от Зла".
Собственно, моя статья как раз об этом: не о том, МОЖЕТ храниться в воде информация или нет (пока не доказано, что может, потому что доказательствами всю эту хренотень про кривые снежинки считать нельзя).
А о том, что в этих всех "теориях" предполагается, что вода не только ПОМНИТ матерные слова на всех языках и от ужаса перепутывает у снежинок лучики, но и ОТЛИЧАЕТ добро от зла, или там хорошую музыку от "плохой" и т.д. А это вообще-то и для людей не так очевидно!
Так что я тут не про гомеопатию пишу. Не отвлекайтесь.
0 Ответить
Как же не про нее, Вы целых два абзаца ей посвятили?
Разве мало достоверных фактов, которые имеют место быть, но их научного объяснения на данный момент не существует? Так было всегда, начиная с возникновения наук.
Там, где психика, с ясными механизмами совсем туго, а техника/практика - есть...
Эффект сверхмалых доз существует, объективен и повторяем:
C гомеопатией ясно одно: объяснение механизма ее работы - никуда не годится
Никакого объяснения и нет пока, это факт. Есть только гипотезы. Ни один здравомыслящий врач-гомеопат не заявит, что он знает механизм (да и задача врачей именно лечить, а не исследовать). Поэтому миллион пока ждет
То есть лечить - лечат, а как лечат - сами не понимают.
Должен Вас разочаровать, классическая медицина точно также поступает. Например, существует масса препаратов, используемых для лечения опред.болезней, но механизм их действия до конца не выяснен. О чем честно написано в аннотации. Не говорю уже о психотерапии и гипнозе
И на предложения ученых - провести эксперименты как положено - отвечают бранью. Это настораживает
Это вообще лирика и мифы. Уж не знаю, кто там бранью отвечает, но исследования есть, причем и за и против. Но у фармгигантов денег поболее, так что есть нюансы
Оставим вопросы гомеопатии
http://www.nkj.ru/archive/articles/9293/ ("Наука и жизнь"),
http://www.erudition.ru/referat/printref/id.46872_1.html
Так что фантастически низкие дозы вещества вода все-таки "помнит", не будем выплескивать с водой ребенка
Ну а любителям плодить сущности Вы уже отписали
0 Ответить
Кстати, ссылка на "науку и жизнь" довольно интересная. Вот там подход вызывает уважение - никакого камлания и эмоций, вполне трезвая наука. И вывод пока такой, как я и думала: эффект есть, но механизм совершенно неясен.
Ученым механизм неясен, а всяким доморощенным знатокам все ясно как день: вода помнит, и все тут.
0 Ответить
Здрасьте, приехали! Логика потрясает
эффект есть, но механизм совершенно неясен, поэтому эффекта нет!
Если механизм вашей памяти как человека неясен, то значит памятью вы не обладаете?
Так что, есть память у воды, есть. Как минимум в описанных пределах.
0 Ответить
Слушайте, как с вами тяжело. Я пишу: "эффект есть, но механизм пока непонятен". КАК вы отсюда делаете вывод, что эффекта нет?!! Если написано русскими буквами, что ЕСТЬ?
Есть, но механизм непонятен. Значит, надо выяснять. Но СТАТЬЯ-ТО НЕ ОБ ЭТОМ! Вы вообще читаете или сразу ответ пишете? Статья о том, что не надо приписывать воде МОРАЛЬ и СОЗНАНИЕ. Чего как раз гомеопаты не делают - у них эффект достигается чисто материально: разведение и встряхивание.
Я-то пишу о том, какое идиотство - считать, что вода отличает ДОБРО от ЗЛА, хорошую музыку от "плохой" и рутательства от благостных слов. И вообще как-то ЭМОЦИОНАЛЬНО реагирует на воздействие. Неужели так трудно это понять????
0 Ответить
Слушайте, как с вами тяжело
Благодарю за терпение
Да и мне нелегко
Статья о том, что не надо приписывать воде МОРАЛЬ и СОЗНАНИЕ
Я хоть каким-то образом ИМЕННО ЭТО оспаривал? Буду рад, если найдете. Я говорю про запоминание веществ, по которому вы ТОЖЕ в статье проехались. А оно как раз ЕСТЬ, хоть объясненное, хоть нет. Ну что тут непонятного?
0 Ответить
не будем выплескивать с водой ребенка
Ну может там и есть один ребенок на 2-3 галактики воды....
0 Ответить
Ну да, в сверхмалой дозе, как полагается
0 Ответить
В нанодозе, практически
Оценка статьи: 5
0 Ответить
5 баллов, браво!
0 Ответить
Даже не знаю, что больше понравилось, сама статья или обсуждение
. Статья дивная, но комментарии поживее.
Пятерка.
Оценка статьи: 5
0 Ответить
Значит, креатив пробудился - тема такая, животрепещущая.
0 Ответить
НЕ осилила... УВЫ!
Оценка статьи: 3
0 Ответить
Многа букафф?
Оценка статьи: 5
0 Ответить
Ну, бывает, видно, сложно написано...
0 Ответить
Или энергетика у букаф не та. Тоже бывает.
Вообще там в перловке много чего интересного понаписано.
0 Ответить
Так у меня ж вообще плохая энергетика и неправильный фэн-шуй!
Аура у меня фиолетовая в зловещую полоску, энергия ЦЫ совершенно неправильная, и вообще нежных, трепетных и не обезображенных интеллектом я только порчу и сглазиваю...
0 Ответить
Вот, нашла роскошное дополнение к статье:
Интернет-журнал «Коммерческая биотехнология»
http://www.cbio.ru/
01.04.2007
Супердивайс для энерговитализации воды
Примечание: Дураков мало, но они расставлены так грамотно, что встречаются на каждом шагу. (Народ.ru)
«Великая тайна воды»!
Из аннотации к фильму:
«Открытие современными учеными четвертого, информационного, состояния воды, стало доказательством ее памяти.
Уникальный телевизионный проект «Великая тайна воды» – это попытка проникнуть в скрытые свойства этой стихии, не укладывающиеся в рамки общих физических законов».
Так вот где Нобелевка зарыта! Наверняка это открытие сделали академики РАЕН. Или даже Международной академии информатизации. А то и – страшно представить такое величие – Нью-Йоркской академии наук?! Увааажаааю!
Надеюсь, в следующих фильмах истинные ученые продемонстрируют хождение по воде на глазах изумленной публики, телепортацию академика с телеоператором на Луну голышом, так как скоро изобретут кожное дыхание светом. И прочие облегчающие жисть простого народа чудеса. В том числе – неразменную бутылку с пивом.
Все это можно получить с помощью суперустановки, кою я изобрел, хлебнув, посматривая фильмец, раствора перегнанной воды и вдохновившись открывшимися несказанными возможностями. Кстати, все хорошие экстрасенсы тоже дают установку. Как это символично!
Супердивайс состоит из двух основных частей:
замораживатель – для снятия с воды порчи, отрицательной матрицы, от злого пука в лужу и в муку и т.п.
Затем – оттаиватель (температура строго 36,6 – чтобы вода лучше усваивалась человеческим телом).
При этом на этапах как замораживания, так и оттаивания подключается звуковоспроизводящее устройство, в постоянном режиме вещающее на подготавливаемую воду желаемое заклинание (мантру, нейролингвистическую программу, заговор-уговор – нужное подчеркнуть в зависимости от уровня замшелости пользователя).
Исходя из биоэнергозаклинательного характера, установку пришлось назвать НАХЭР – Нейролингвистический Аква-Хроно-Энергобиологический Ревитализер.
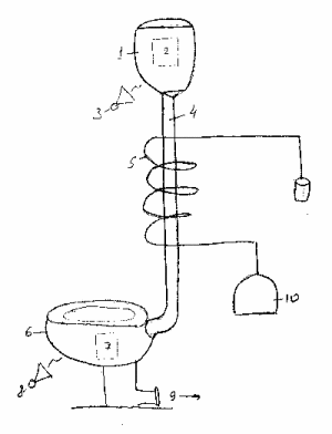
Ниже приведен чертеж простейшего НАХЭРа, который без особого труда можно собрать в каждом доме.
1 – накопительная емкость для грязной воды
2 – фото Кашпировского
3 – звуковещательная установка (МР3, магнитофон, устная речь)
4 – труба для замораживания воды
5 – змеевик для подачи охлаждающего вещества
6 – фарфоровая емкость для оттаивания
7 – фото Чумака
8 – мантрочитатель (МР3, магнитофон, устная речь)
9 – выход облагороженной воды
10 – холодильный компрессор. Если включить его наоборот, можно получать самогон, помогающий от генномодифицированных продуктов.
Кстати, лучшее тепло для оттаивания воды – биологическое. Поэтому сядьте на фарфоровую емкость и отогревайте воду своим теплом. Помните! При этом от вас не должно исходить ничего плохого!
Уговаривая замораживаемую воду стать хорошей, мы нейтрализуем предыдущее вредное на нее влияние. Ведь не только пьяный сантехник матерился над нашим водопроводным краном (а кран это запомнил и передал воде, у него, как у всякого металла желтого цвета, аура энерговампирическая), но и бесчисленные тупые динозавры миллионы лет писали и какали в древние воды. Теперь вы поняли, почему люди поступают дурно?
После улучшающего замораживания следует этап облагораживающего оттаивания и в прямом, и в духовном смысле. Тут надо не прогадать. Ваш МР3-плеер (желательно собранный вежливыми китайцами, воспитанными по системе цзо-па, и не в коем разе не старый магнитофон, собранный под русский мат), может дать множество установок. От сглаза, от снятия венца безденежья, а лучше – для ума.
Да, и не забудьте перед замораживанием показать воде фото Кашпировского с приговором «Даю установку», а во время оттаивания – фото Чумака с установкой «Заряжаю».
Если вода, подготовленная таким образом, вам не поможет, значит, вы думали о белой обезьяне (© Х.Насреддин).
Кстати, только аннотации к фильме достаточно, чтобы оценить ее шизоту. А уж смотреть его – это надо мозги отключить. У кого они есть, конечно. И ведь те, кто это произвЕдение смотрит, пишет о нем хвалебные рецензии и дает ему премии за лучший научно-популярный фильм, учились в школе. Жаль, не запомнили ничего...
Рацио-анализатор Перлофил
0 Ответить
Дала брату почитать! Он распечатал вместе со схемой, друзьям раздал. Будут учить своих родителей воду лечить!
Интересно, родители все такие доверчивые, или есть поколения родителей недоверчивых?
0 Ответить
почему родители?...
Как раз яростных сторонников всей этой дребедени развелось больше всего в 90-х. Они делятся на молодежь с некрепкой головой (по случаю ОЧЕНЬ плохого преподавания наук в школе) и на бабушек с некрепкой головой (по случаю возрастных изменений).
Я сама вполне себе родитель взрослых детей, но пока не бабушка.
И среди моих друзей (тоже родителей) таких повернутых на "непознанном" тоже нету...
0 Ответить
Да, бабушки еще доверчивее родителей.
0 Ответить
У гомеопатов она помнит, что когда-то была смешана с лекарством, причем в разведении «один к миллионам» в небольшом объеме воды уже просто НЕТ тех молекул, которые встречались с самим препаратом. Ну или одна-две штуки. Чтобы обеспечить сведениями о лекарстве все остальные молекулы, счастливицы, которым повезло, вероятно, устраивают семинары и тренинги, где передают опыт и делятся воспоминаниями «как я видела Молекулу Препарата». Остальные вздыхают и конспектируют.
А вот по этому поводу вроде бы были серьезные эксперименты, что-то я читал лет пятнадцать назад. Амебы действительно реагировали на присутствие веществ в разведении 10 в -120 степени.
0 Ответить
вот как раз очень интересная статья об этих серьезных исследованиях:
http://community.livejournal.com/ljnauka/60683.html#cutid1
"Джеймс Рэнди, американский фокусник и разоблачитель чудес, много лет назад объявил, что выплатит миллион долларов тому, кто продемонстрирует паранормальные способности, а именно сможет надежно и точно отличить гомеопатический раствор от обычной воды. Приз остается невостребованным.
Клинические испытания раз за разом доказывают, что эффект гомеопатических средств не превышает эффект плацебо.
Откуда берется столько исследований с позитивным результатом? Ответ – публикуются результаты далеко не каждого исследования. Этим грешат многие ученые, в любой научной сфере. У исследования с положительными результатами гораздо больше шансов быть опубликованным.
Гомеопаты жестко проталкивают свой продукт с помощью квазинаучной болтовни. В результате люди перестают понимать, что такое доказательная база применительно к лекарству.
И вот что самое странное. Все вопросы, которые я задал, можно решить в честной и открытой дискуссии. Однако гомеопаты почему-то избегают обсуждений, принятых в академической медицине. На обоснованную критику часто отвечают приступами злости, криками о преследовании, или простым отказом обсудить вопрос.
В лекарствах в гомеопатической потенции 100С, которые продают повсеместно (и утверждают, что они действуют еще сильнее), на одну молекулу действующего вещества приходится больше молекул воды, чем вообще атомов вещества во вселенной..."
0 Ответить
Особенно рассмешило, что младенцы и животные являются проводниками желаний их родителей и хозяев при гомеопатическом лечении. Если про младенцев еще с трудом можно что-то такое предположить, то насчет коровы - бред сивой коровы
0 Ответить
Все вопросы, которые я задал, можно решить в честной и открытой дискуссии.
А вы, случаем, не мужчина? А то я давно это подозреваю, а тут такая описка
0 Ответить
А вы, случаем, не мужчина? А то я давно это подозреваю
Почему вдруг?
а тут такая описка
это все - цитата из статьи, на которую дается ссылка. Пишет ученый.
0 Ответить
Почему вдруг?
Больно уж суждения жесткие
0 Ответить
А женщина непременно должна быть мягкой, как подушка?
0 Ответить
Очень желательно
0 Ответить
Крайне утилитарное отношение к женщине как к домашнему инвентарю?
0 Ответить
Согласен, эгоизм...
Но так хочется мягкости!
0 Ответить
"хочется" это одно. А "должна" - это совсем другое!
Из того, что вам (в широком смысле - мужчинам) чего-то хочется, вовсе не следует, что мы это ДОЛЖНЫ! Заслужить надо.
0 Ответить
Не, ну можете почитать ну очень научные основы гомеопатии. Я ниасилила. Мне достаточно того, что врач-гомеопат вылечила меня, моего малолетнего ребенка, не верящих в гомеопатию родственников и знакомых, и вообще кучу всякого народа, в ее клинику очереди такие, что врачи не справляются.
на одну молекулу действующего вещества приходится больше молекул воды, чем вообще атомов вещества во вселенной
Да нет там ни одной молекулы, о чем это он... А в электричество тоже многие не верят, пока током не стукнет.
0 Ответить
В том-то и дело, что ток всегда действует одинаково, если воспроизвести одинаковые условия... А тут с этой памятью воды - что ж никто за миллионом долларов так и не явился? Если всем-всем помогает?
Я никогда не пойму, почему гомеопаты при всей своей чудодейственности так упорно отказываются от КОРРЕКТНЫХ статистически достоверных экспериментов. Как минимум одно это должно уже насторожить!
0 Ответить
Думаю, потому, что как для любого фармацевтического препарата, статистически достоверным экспериментом может быть только статистика излечения. Поскольку шарлатанов в этой области больше чем где бы то ни было, реальные результаты теряются в общей массе. Но это я могу только предположить.читать дальше →
0 Ответить
Получается, что если гомеопаты могут "размножать" любое лекарство сколько угодно от одного образца, то эти лекарства должны быть бесплатны или стоить очень дешево. Что им мешает наразмножать любого лекарства любое количество?
А что касается результатов лечения, то они могут в большой степени объясняться тем, что гомеопат подробно исследует пациента, много расспрашивает его и разговаривает, а для наших людей, привыкших к тому, что в поликлинике им только хамят и врач не помнит своих больных даже в лицо - такое внимание уже весьма целебно. Мне всегда становится легче, если врач внимательный и смотрит на меня, а не в историю болезни.
Ну и опять же тут присутствует универсальная отмазка: не помогло - значит это ВАМ не подходит, будем искать дальше. То есть никакого универсального алгоритма, никакой закономерности, сплошной индивидуальный подход. Тут никак не поставить корректного опыта... Но везде, где я почитала, пишется, что эффект от гомеопатии не превышал эффект в группе плацебо. А по определению, такие средства не могут считаться лекарством, потому что для утверждения лекарства эффект должен существенно превышать эффект в контрольной группе. Психотерапия.
0 Ответить
Лекарства и стоят очень дешево, эти самые шарики. Все равно их должен кто-то наделать, кто-то зарядить, расфасовать.
"Наши люди", которых я привела к гомеопату, раздражались и возмущались потом - "чего это она спрашивает, что мне обычно снится и как часто бывает секс, шарлатанство какое-то". Так что никакой психотерапии (а разве Вы в нее верите?). Ребенка вообще никто ни о чем не спрашивал, только меня о нем. Результативным лечение было во всех случаях, потому что, повторяю: настоящий гомеопат лечит больного и никаких отмазок у него нет. А это плохо - "сплошной индивидуальный подход"? Этому наш доктор и учит студентов-медиков.
0 Ответить
Хы. Психотерапия и внушение - совершенно реальные вещи! Как и гипноз. Они и воспроизводимы, и экспериментально доказаны, и наука в них совершенно не сомневается.
Индивидуальный подход это просто прекрасно, и наверное единственный способ лечить по-настоящему. В том-то и пакость всех этих шарлатанских метод, что они обещают излечение всем "не глядя" - вот наденете циркониевый браслет, и сразу все пройдет.
0 Ответить
Браво! Просто блестящщая работа! С искромётным юмором и весёлыми картинками! 5++++
Оценка статьи: 5
0 Ответить
Спасибо, только количество людей, которые готовы поверить абсолютно в любую ахинею, не уменьшается, а увеличивается. Твердят, как попугаи "наука многого не знает", и все тут. Почему-то этой фразой можно оправдать любую бредятину.
0 Ответить
Твердят, как попугаи "наука многого не знает"
Так ведь человеку необходимо верить в сказки! В 5 лет - это Элли в Волшебной стране, в 15 лет - всякие властелины колец и тп, далее - уже полунаучная фантастика. Обратите внимание на многие фантастические фильмы. Зачастую там вроде как разумно и научно растолковывается, почему возможно то-то и то-то. Просто взрослому мало просто "фактов", ему еще надо это объяснить "научно".
Возможно, что какая-то память у воды и есть, но чтобы реагировать на слова, надо их осмысливать, получается, что вода теперь - умное разумное живое существо.
Интересно, тем, кто в этот антинаучный бред верит - не противно ли им воду пить. Ведь та вода, что они пьют, помнит желудки других существ! И попытается свойства желудков других существ перенести на желудок тех, кто ее теперь пьет!
Оценка статьи: 5
0 Ответить
не противно ли им воду пить. Ведь та вода, что они пьют, помнит желудки других существ!
И не только желудки, но и более нисходящие отделы кишечника! И затем - канализационные трубы!
Странно, но эта простейшая мысль почему-то не приходит им в голову. Или вода помнит только то, что ИМ хочется?
0 Ответить
А это какая-то загадка природы. Почему-то в определенном возрасте многие теряют способность усваивать то, что построено на науке, логично и доказательно, а вот способность усваивать "непознанное" у них удесятеряется. Чакры, что ли, какие-то особенные открываются? Столько теток видела - им можно впарить какую хошь ерунду, чем "непознаннее", тем надежнее усвоят. не, точно, какие-то чакры. Такой вот непознанный эффект.
0 Ответить
Не знаю, в возрасте ли дело, или это врожденная способность - вместо того, чтобы просто подумать, - рассуждать что "ум сушит душу" и "все равно все кругом непознаваемо".
Сладострастно поносить науку, сидя за компьютером - это все равно, что рассуждать о диете, пожирая сало и масляный торт.
0 Ответить
"свойста медикамента" - опечатк.
Все ждал, что будет дерзкое предположение зачислить воду в металлы-сплавы. Кисловодород, ага.
Кстати, сплав с эффектом памяти (которые относительно давно появились) не вспомнил... Нашел в гугле только нитинол.
А вообще - спасибо за творчество!
0 Ответить
Что-то я ваших статей давно не видела?
0 Ответить
Какие продуктивные идеи родились в комментариях!
0 Ответить
Так ведь главное - правильно заострить вопрос!
0 Ответить
теперь я понимаю, почему женщины иногда напевают что-то на кухне...
Вода в составе борща, например, или солянки какой свои качества ведь сохраняет?
Вывод практический - женщин для кухни надо воспитывать. Самое важное - ТВ на кухне держать нельзя. Особенно перед выборами.
Оценка статьи: 5
0 Ответить
А в ресторанах требовать сертификат и справку от санэпидемстанции: дана настоящая справка в том, что ПОВАР ВО ВРЕМЯ ПРИГОТОВЛЕНИЯ ПИЩИ НЕ МАТЕРИЛСЯ!!!
0 Ответить
А мы этих сертификатов - взятками!
0 Ответить
Вода от взяток обидится и прокиснет...
0 Ответить
В русских ресторанах, на русской кухне - русские повара, жаргон у них профессиональный, специфический, конечно.... Так ведь и вода не японская какая, а наша, русская. Наша - ни от мата, ни от взяток - не прокиснет! А космополитической воды нам не надо.
0 Ответить
А космополитической воды нам не надо.
Ну да, она ведь безродная.
Оценка статьи: 5
0 Ответить
А вот тут вы здорово ошибаетесь! Это космополиты безродные. А вода - наша. Кстати, вводя вот эту градацию - вода наша и не наша, мы легко разрешаем вопрос речевого воздействия на воды. Наша - по-нашему понимает, не наша - понимает только по-ненашему.
И вот тут мы вплотную подходим к этрускам. Наша - это та, которая понимает именно по-этрусски. Та, что ПОМНИТ свое этрусское прошлое. А которая не помнит - подверглась жуткому процессу денацификации, денатуризации и прочим пакостным операциям.
0 Ответить
И вообще, я заметил, что вы идеализируете воду. Гидроидеалистка, извините за выражение.
Оценка статьи: 5
0 Ответить
Как кто-то в каком-то форуме при какой-то статье сказал, все это от того, что я выражаю свои "убеждения и верования". А также пытаюсь на ночь глядя напряженно и публично мыслить.
Че нам с водой булькать?! Я - вода, она - вода...
0 Ответить
Надеюсь, это был не я. Не, "надеюсь" - это не то слово. Я практически в этом уверен.
P.S. Я боялся, что вы меня за "гидроидеалистку" побьете.
Оценка статьи: 5
0 Ответить
0 Ответить
"Гидроскептик" - роскошный термин. Во-первых, напоминает сантехника или гидроэнергетика, а это серьезно. А во-вторыХ несет в себе намек на ГИДРУ! И это внушает оппонентам УЖОС!
0 Ответить
А вот фигвам! Как убедительно доказала в своей статье г-жа Старохамская, язык воде по барабану. В смысле - воде фиолетово, на каком языке к ней обращаются.
Отсюда вывод - если вода кому-то и отвечает по-этрусски, то это вызвано только ее желанием поболтать. То есть побулькать.
Оценка статьи: 5
0 Ответить
Верно! Поэтому надо пить квас, а не иностранную кока-колу. У нее же все не по-нашему там записано! Вот в чем все дело - американцы ее пьют, а нас все пугают, что она ядовитая, аж скорлупа растворяется... А дело в том, что у нее кластеры магнитных диполей не на кириллице образуются?!!!
0 Ответить
ТВ на кухне держать нельзя. Особенно перед выборами.
Вот и профессор Преображенский, значит, не зря говорил - не читать советских газет перед едой!
0 Ответить
Вот оно как оборачивается-то! Японец со снежинками отдохнет пусть.
Оценка статьи: 5
0 Ответить
Открываю сегодня ШЖ - опять ахинея про память воды и ее моральный облик. Весь мир помешался, что ли? Просто хоть не читай оглавление. С автором даже спорить не хочу, судя по той чепухе, которую он массированно несет - бесполезно.
Чего стоит только случай, когда вода "переняла" яд от контакта с герметически запаянной ампулой яда, и крысы отравилисб этой водой! Ну как же тогда в аптеке все лекарства стоят рядом и не "заражаются"? А как просто было бы безнаказанно отравить кого угодно - и никаких следов, вода-то чистая, просто она побывала РЯДОМ с ядом!
Ну не хотят люди включить голову ни на миг!
Но удивляют масштабы явления. Решительно все помешались и скоро будут разговаривать с водопроводным краном?
0 Ответить
Вот с автором уже и поспорил Валерий Яковлев теми четырьмя статьями.
0 Ответить
Они неистребимы, точнее - неистребимо желание поверить во что угодно...
0 Ответить
Да, открываются роскошные перспективы!
0 Ответить
элементам двигателей, протезам суставов и сосудов и т.д. не приходится говорить про благорастворение, добро и любовь
Ну и напрасно. Вот если бы говорили - они бы, может быть, работали гораздо лучше! Качали бы втрое больше крови с бензином!
P.S. Снежинки хороши, да. Информативны.
Оценка статьи: 5
0 Ответить
Надо ввести на заводах должность благословителя двигателей. Ну или чтобы поп кадилом махал, мулла, раввин...
Ведь стало же модно - все святить. На рынке, и то, бывает, ходит батюшка и всех без разбору каким-то мокрым веничком омахивает.
Но опять же, как и у Масару, эффекта нет никакого: в совеццкие времена все это было строго запрещено, даже за то что ребенка окрестить - могли быть баааальшие неприятности.
А народ массово тащится от того, какие все тогда были добрые, Духовные (с большой буквы), и фильмы были добрые, и мультфильмы добрые, и милиционеры были добрые, и вертухаи добрые, все были добрые.
А теперь крестись-святи-венчайся сколько угодно, иконами хоть обвешайся, благие слова говори чему угодно - а все только и ноют, что кругом одни хыщники, по ТВ одни ужасы, а в магазинах одни химикалии.
Что-то не работает!
0 Ответить
Ведь стало же модно - все святить

Кажется, Задорнов говорил, что только в России ядерные боеголовки (или че-то вроде того) освящены православной церковью
... а все только и ноют, что кругом одни хыщники, по ТВ одни ужасы, а в магазинах одни химикалии
А по ТВ к моему сожалению ужасов как раз-таки нет, всмысле на тех каналах, которые есть у меня.
Оценка статьи: 5
0 Ответить
все были добрые
Старый анекдот, но очень подходит:
- Дедушка, а когда было лучше жить - при советской власти или при царизме?
- При царизме, ясное дело!
- А почему?
- А у меня тогда еще стоял.
Оценка статьи: 5
0 Ответить
Тамбовчанин Пётр Овчаренко изобрёл «космический аппарат», с помощью которого заряжает воду энергией президента России...
— Это изобретение я называю «космическим аппаратом», — рассказывает изобретатель. — Он создан для того, чтобы концентрировать в себе положительную энергию и отправлять её в любую точку — хоть в космос, хоть в банку с водой. Почему здесь фотография Путина? Потому что многое, что происходит в стране, зависит от энергии нашего руководства. У нынешнего президента положительная аура, он человек от Бога. Если в аппарат поставить, например, банку с водой, то она зарядится концентрированной положительной энергией, идущей от Путина. Выпив эту воду, любой человек может поправить своё здоровье.
По словам Петра Леонтьевича, Дмитрий Медведев обладает менее сильной энергетикой, чем Владимир Путин, но и его энергию можно использовать с лечебной целью.
Оригинал статьи и дополнительные фото: http://newspaper.moe-online.ru/hi-tech/main/lechu_energiej_putina.html
0 Ответить
Какие-то у него ручки коротенькие. Ой, я еще вспомнила у Стругацких книжка такая есть - кажется, сказка о тройке. Там старикашка с черным ящиком - наверно, такой же смешной
А если аппаратом с путинским портретом воздействовать на портрет Медведева - ведь Медведеву тогда путинская энергетика передастся!
0 Ответить
Точно! Старикашка Эдельвейс!!!
А представляете, если поставить портрет Путина, напротив - портрет Медведева, а между ними помещать пациента! ОН КААААК вылечится сразу! А ученые скептики и зеленые жабы будут все рыдать в уголочке!
А еще можно между ними ВОДУ поместить, и она сразу станет ТАКАЯ ЦЕЛЕБНАЯ! А кто не верит - тот просто тупой циник. Есть еще идея - энергетичный портрет вешать в спальне, как стимулятор... дальше неприлично...
0 Ответить
Придумал новый аппарат для лечения всего. Абсолютно универсальный.
Он имеет форму пирамиды (обязательно!). В вершинах ее находятся указанные портреты, а также портреты Кашпировского и Чумака. Внутрь аппарата помещают пациента, который должен звонить в колокольчик. Пять минут лечения - и из пирамиды выходит пышущий здоровьем человек.
А всех врачей можно будет уволить, и больницы позакрывать - все равно они уже не нужны будут. Это ж какая экономия для государства!
В качестве вознаграждения согласен на десять процентов от сэкономленной суммы, очень желательно авансом.
Оценка статьи: 5
0 Ответить
Гениально. Но! есть вопрос: а если оно не заработает? Ну вдруг найдутся такие убогие бескрылые скептики, которые назло не вылечатся???
0 Ответить
Значит, клиент плохо звенел колокольчиком. Сам виноват.
Но это ни в коем случае не повлияет на размер моего вознаграждения - экономия-то уже будет достигнута!
Оценка статьи: 5
0 Ответить
Во всяком случае, в устройство должна входить еще вода. Она все помнит!
0 Ответить
Да, конечно, предложенная схема устройства просто гениальна, но воды ей явно не хватает! С ее-то памятью!
0 Ответить
Я помню, что есть нацпроекты - по медицине, по образованию, и еще какой-то. По рождению детей? Или это медицинский тоже?
Ну ладно, не помню точно.
Но надо еще, чтобы и министров главный портрет всех зарядил!
Вот это называется мозговым штурмом. Я даже не буду жалеть, если эти идеи, которые тут в нашей беседе рождаются, эти Эдельвейсы присвоят. Пусть!
0 Ответить
Главное детище Овчаренко чудо-очки.— «космический аппарат для концентрации энергии»
— Надев их, сотрудники ГИБДД могут увидеть потенциальных правонарушителей, преподаватели — уличить халявщиков, а врачи — отыскать корень болезни у пациента, — рассказывает Пётр Леонтьевич. — Через очки видишь ауру человека. Она как нимб над головой. Тёмная — значит, человек темнит, светлая — ничего дурного не замышляет.
К сожалению, чудо-очки, оказавшись на носу у нашего корреспондента, не захотели работать. В них Пётр Леонтьевич предстал в самом что ни на есть земном образе, без нимба.
— Очки у меня в стадии доработки находятся, — не смущаясь, объяснил неудачный эксперимент Пётр Леонтьевич.
Зато уже готов к эксплуатации биолокатор, который определяет человеческую энергетику по фотографии. С его помощью, по уверениям изобретателя, можно определить, плохая у человека аура или хорошая.
— Многие относятся к моим открытиям со скептицизмом, — говорит изобретатель. — Это всё из-за того, что наука пока не умеет управлять энергетическими процессами организма человека. Я же сумел просчитать, что человек подобен магниту и он может притягивать к себе как хорошее, так и плохое. Мои агрегаты основаны на принципе компаса, они определяют положительную и отрицательную биоэнергетику, а в некоторых случаях могут изменять её. Жаль, что мои открытия пока никто не хочет признать.
0 Ответить
Очки у меня в стадии доработки находятся
"... когда он делал очередной доклад "О некоторых новых свойствах брюк-невидимок Редькина", его опять постигла неудача. Во время демонстрации модернизированной модели что-то там заело, и брюки, вместо того чтобы сделать невидимым изобретателя, вдруг со звонким щелчком сделались невидимыми сами. Очень неловко получилось." (с)
Хотя нельзя сказать, что брюки никак не работали, в отличие от чудо-очков.
Оценка статьи: 5
0 Ответить
У Валерия Яковлева (он физик) есть серия статей на эту тему:
https://www.shkolazhizni.ru/world/articles/12301/
https://www.shkolazhizni.ru/world/articles/12301/
https://www.shkolazhizni.ru/world/articles/12301/
https://www.shkolazhizni.ru/world/articles/12301/
0 Ответить
По-моему, там две статьи практически одинаковые, с полностью совпадающими абзацами со слов "Помните, как лет 20 назад Алан Чумак... "
0 Ответить
Абзац перестроила.
0 Ответить